Our UFO scientists of the future . . .
Dr. Harold Puthoff Professor Garry Nolan Dr. Eric Davis
Dr. Lacatski Dr. Colm Kelleher
Harvard Astrophysicist Dr. Avi Loeb
Professor Haim Eshed
All waiting for the US Government to release their Scientific Information on UFOs . . .


Dr. Harold E. Puthoff AAWSAP Scientist . . . . Works with Dr. Eric Davis . . . .
Back in the Day, a group of really cool people . . .
Apollo 14 Astronaut Edgar Mitchell, Astronaut John Glenn, Kit Green, Robert Bigalow, Dr. Hall Puthoff, Dr. Eric Davis, Senator Harry Reid, Senator Daniel Inouye, Senator Ted Stevens.
All worked and talked together.
UFOs and the Future of this world . . . .






At the SOL Foundation in Nov. of 2023, Dr. Hal Puthoff mentioned this list of what government scientists wanted to know about UFOs.
If UFOs are not real, why would our US government want to know about an imaginary craft while spending 22 million on that research.
That was the point he was making, it is "The Reality of UFOs", and the governments interest in their nuts and bolts of these Space Crafts.
This list was put together in 2007.
Contract Bid Listed in 2008 "from: Dr. Lacatski" the head of AAWSAP UFO program sponsored by Democratic Congressman Harry Reid, 22 million 2 year program that posted online ad in 2008.
Contract Bids: 2008 OCT. 31st. Bigalow Aerospace was established in 1999 and closed in 2020, Mr. Robert Bigalow got the contract.
REQUIREMENTS:
The contractor shall complete advanced aerospace weapon system technical studies in the following areas:
-
Lift
-
Propulsion
-
Control
-
Power generation
5 Spatial / Temporal translation
-
Materials
-
Configuration-structure
-
Signature reduction (Optical, infrared, radiofrequency, acoustics )
9 Human Interface
-
Human Effects
-
Armament (RF and DEW) Weapons . . . .
It is expected that numerous experts with extensive experience (minimum of 10 years) in breakthrough aerospace research and development will be required to meet the demands of the above program.
Dr. Hal Puthoff anti gravity patent - energy study . . .











Learn The Vacuum Energy State: Zero Point Energy . . . Patent Text copy and paste free info . . .
Local Vacuum energy state can be seen as the collective energy state (structure) which contains the ground state of minimum energy (baseline fluctuations) that is the quantum vacuum, and the excited state of energy (induced fluctuations) generated by matter or any other source of energy in that spacetime locality.
According to quantum field theory, matter, energy, and spacetime are emergent constructs which arise out of a foundational structure, which is the Vacuum energy state.
Matter is confined energy, bound within fields, and may be thought of as a spectrum of different vibrational (and possibly gyrational) frequencies of the Vacuum energy state.
The engineering of the Vacuum metastructure (since there are multiple Vacuum structures) has been discussed from a General Relativity perspective, and from a quantum field theory perspective. We are immersed in an ocean of energy (the Vacuum energy state), yet ordinarily we seem not to interact with it.
This is because under normal circumstances (at or near equilibrium), the Vacuum state is homogeneous, isotropic, Lorentz invariant, in other words, it is symmetric.
If this symmetry (far-from-equilibrium) is broken and strong interactions with the Vacuum energy state become possible, the manner in which the collective fields exchange energy with one another will be affected.



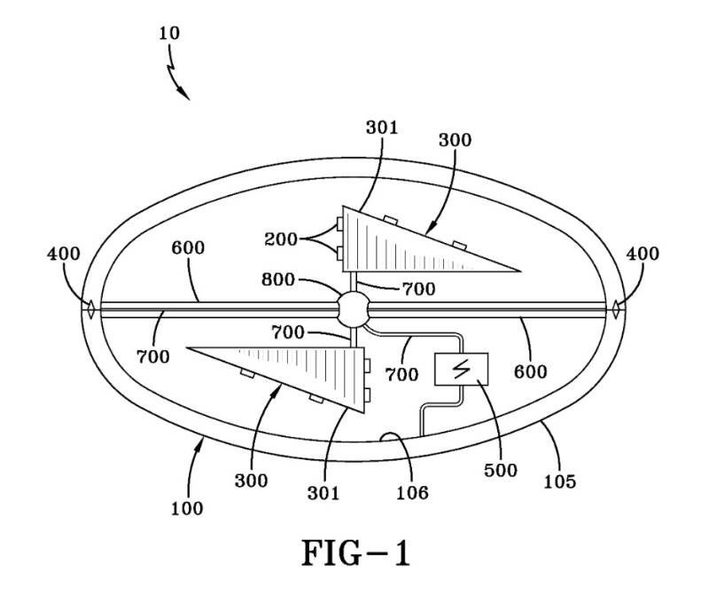
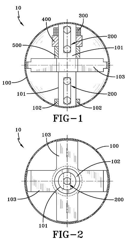
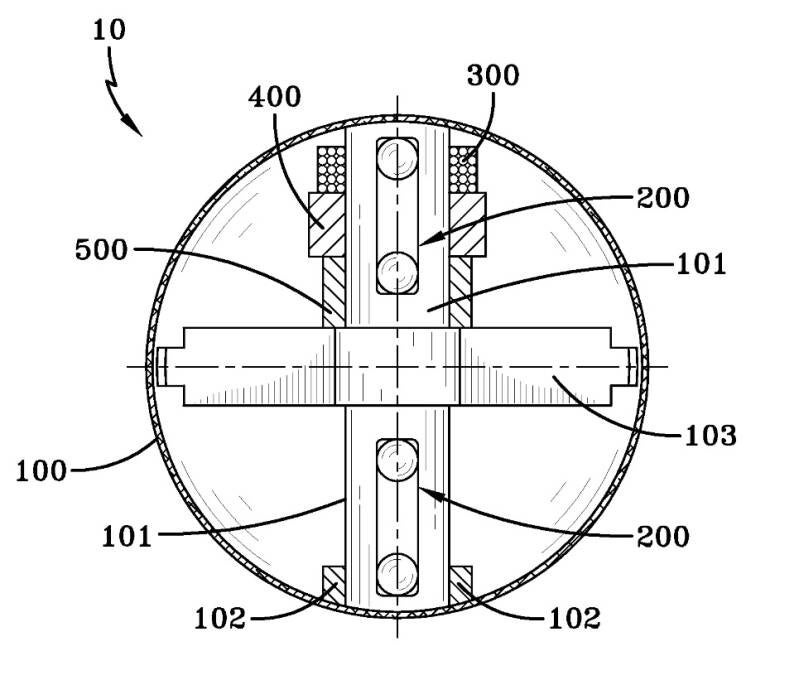
Below: UFO Technology . . .
The High Frequency Gravity Wave Generator


High Frequency Gravitational Wave Generator
For Future Space Craft . . .
- A high frequency gravitational wave generator comprising:
A gas-filled shell, the gas-filled shell comprising of microwave emitters, the gas filled shell has an outer shell surface and an inner shell surface, the outer shell surface is able to be electrically charged by an electrical source and is able to be vibrated by the microwave emitters, such that it generates a first electromagnetic field; at least two sound generators for generating sound, at least two sound generators disposed within the gas-filled shell;
Two acoustic vibration resonant gas-filled cavities for propagation of sound created by the at least two sound generators, the two acoustic vibration resonant gas-filled cavities are disposed within the gas-filled shell and each resonant gas-filled cavity has one cavity surface that can be electrically charged.
The acoustic energy from the at least two sound generators causing each of the electrically charged cavity surfaces to vibrate such that a second electromagnetic field is generated;
the two acoustic vibration resonant gas-filled cavities being able to counter spin relative to each other to provide stability, propagating gravitational field fluctuations are generated when the second electromagnetic field propagates through the first electromagnetic field.
- The High Frequency Gravitational Wave Generator of claim 1, wherein the high frequency gravitational wave generator includes wiring to electrically charge the outer shell surface and the cavity surfaces, to power the microwave emitters and the sound generators, the wiring being room temperature superconducting wiring.
- The high frequency gravitational wave generator of claim 1, wherein the gas-filled shell and the two acoustic vibration resonant gas-filled cavities are filled with an inert gas.
- The high frequency gravitational wave generator of claim 3, wherein the gas-filled shell is filled with Xenon gas.
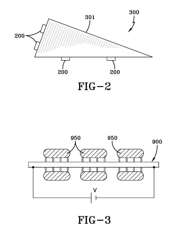
- The high frequency gravitational wave generator of claim 1, wherein the acoustic resonant gas-filled cavities have the geometrical configuration of “incongruent wedges”.
If we perform a “gedanken” (thought) experiment we can observe that the coupling of high frequency spin with high frequency vibration (especially for rapidly accelerated spin/vibration) of an electrically charged system (object)
puts every point on the boundary of the object in a state of coherent superposition, thereby, inducing a macroscopic quantum phenomenon.
Furthermore, as observed from the Casimir effect, the boundary conditions of a physical system affect the local Vacuum energy state (VES) of that system.
Inclusive of zero point EM energy (QED) among other types of field energies (QCD, Higgs, etc.)), thereby, affecting the system's physical properties. Thus, by manipulating/modifying the boundary conditions of a physical system with respect to its local VES, we can alter the system's physical properties.
In a peer-reviewed paper by the inventor, entitled “The high energy electromagnetic field generator,” published in the International Journal of Space Science and Engineering, Vol. 3, No. 4, 2015 pp. 312-317 (incorporated herein by reference and not admitted to be prior art), The inventor discusses the possibility of inertial (or gravitational) mass reduction using high energy electromagnetic (EM) fields, whereby, high frequency accelerated vibration and/or high frequency accelerated spin of electrically charged systems (minimally charged, if so desired) can lead to local vacuum state polarization (energy flux values in excess of 1033 W/m2 are feasible,
with corresponding energy densities in excess of 1025 J/m3).
In this manner, the local spacetime energy density is modified. These systems would be strategically placed on an intergalactic craft.
Craft mass reduction effects
Craft mass reduction effects are achieved by control (coherence) of the collective quantum fluctuations in the Vacuum energy state in the immediate vicinity of the aerospace vehicle/spacecraft's electrified outer mold skin. As a result, extreme craft speeds can be achieved. This concept relates to an EM device which induces vibratory mass/energy fluctuations within a structure, which may or may not be solid in nature (thus generated plasma non-linearities can be considered).
An important realization (mathematically shown) of the peer-reviewed paper by the inventor is the fact that in an accelerated vibration and/or accelerated spin mode, the system's EM energy flux is amplified by a factor equivalent to the product of vibrational (or spin) angular frequency and the operational time of acceleration (namely the time for which the system is operated at maximum acceleration), with respect to the non-accelerated system's EM energy flux (showing the importance of an accelerated departure far from thermodynamic equilibrium).
The aerospace vehicle/space craft, discussed above, has the ability to control the accelerated modes of vibration and spin of the electrically charged surfaces. In particular, the rapid rates of change of accelerated-decelerated-accelerated vibration and/or accelerated-decelerate.
In this manner, we can delay the onset of relaxation to thermodynamic equilibrium (thereby delaying maximal entropy production), thus generating a physical mechanism which may induce anomalous effects (such as inertial or gravitational mass reduction). In this case, the system's EM energy flux is amplified by a factor equivalent to the square of the product of vibrational (or spin) angular frequency and the operational time of acceleration (time while system is at maximum acceleration), with respect to the non-accelerated system's EM energy flux.
A report written for the Office of the Director of National Intelligence (Defense Intelligence Agency), prepared by the MITRE Corporation in October 2008, under the title of “High Frequency Gravitational Waves,” comes to the conclusion that current means and methods of producing HFGWs do not constitute a national security threat and in no shape or form can such physical entities be used for propulsion or communication of any sorts.
This report is also referred to as the JASON report.
The JASON report considers relatively low EM energy fluxes, when compared with those generated by the physical mechanisms described in the inventor's aforementioned published paper (on the order of 1033 W/m2, and beyond). This exceptionally high EM power intensity induces spontaneous particle pair production (avalanche) out of the vacuum of free space, thereby, ensuring complete polarization of the local Vacuum energy state, thus resulting in modification of the local spacetime energy density. It is because of this fact, that the JASON report's conclusions must be revisited, are incorrect, and are directly in conflict with the current invention.



Create Your Own Website With Webador